March 18, 2025
Black Women Inventors Hold These Historic Patents
Black women remain resilient and continue to offer creative, impactful inventions.
Black women are innovators, coming up with great inventions that have transformed many sectors like health care and technology—and people’s lives. Despite barriers, Black women remain resilient and continue to be creative with their contributions. BLACK ENTERPRISE acknowledges their work for Women’s History Month and beyond. Here are 10 Black women whose inventions have made some of the greatest impacts that have moved the world forward.
Sarah E. Goode

Born into slavery in 1850, Sarah E. Goode is noted as one of the first African American women to receive a U.S. patent. After she gained her freedom in Chicago following the Civil War, Goode operated a furniture store with her husband. Goode invented a folding cabinet bed, a piece of innovative furniture that was also a roll top desk with storage compartments. Her patent (number 322,177) was issued to her on July 14, 1885.
Alice H. Parker

Alice H. Parker, an African American inventor from Morristown, New Jersey, revolutionized home heating with her innovative gas-powered furnace design. In 1919, Parker received U.S. Patent No. 1,325,905 for a system that is heated by natural gas and distributed heat through ducts. It was a step beyond the traditional wood and coal heating methods. Her work also enhanced efficiency, safety, and convenience and thus formed a basis for modern forced-air heating systems. Parker’s impact on HVAC technology is significant. Her legacy continues to inspire improvements in energy-efficient heating and the necessity of diversity in STEM fields.
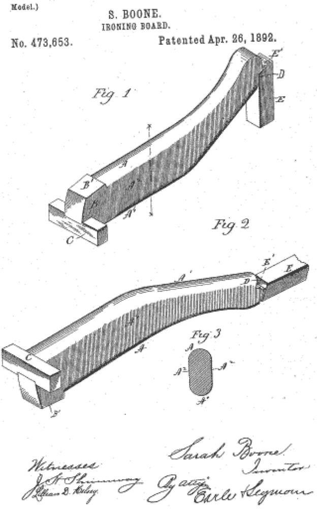
Sarah Boone

Born in Craven County, North Carolina, in 1832, Sarah Boone, improved garment care with her patented ironing board design. After being freed, she moved to New Haven, Connecticut, and learned to be a dressmaker. When she saw there was a better way of pressing fitted clothing, she patented her improved ironing board on April 26, 1892 (U.S. Patent No. 473,653). An improved narrow curved board that helped in ironing sleeves and form-fitting garments like women’s clothing was her design. It also had a support system that enabled users to flip the garments, so both the sides could be pressed at one go. Boone was one of the first Black women in the U.S. to receive a patent, and she made contributions to household innovation. She died in New Haven in 1904, and her work was followed by modern ironing board designs.
Marjorie Joyner

In 1928, Marjorie Joyner, a beautician and an entrepreneur, invented the permanent wave machine—U.S. Patent No. 1,693,515—which made it possible to set several curls at once and increased the efficiency of salons. She was the vice president of Madam C. J. Walker Manufacturing Co. and she supervised 200 beauty schools that expanded the possibilities for Black women in the beauty industry. She was also involved in the formulation of the first cosmetology laws of Illinois, founded the National Council of Negro Women, and founded other groups for Black beauty professionals. Joyner was inducted into the National Inventors Hall of Fame in 2023..
Marie Van Brittan Brown

Born in Queens, New York, in 1922, Marie Van Brittan Brown invented the first home security system and was the first to use closed circuit television surveillance systems outside of a business. A resident of a neighborhood with high crime rates and a slow police response, she created a system in 1966 with peep holes, a sliding camera, monitors, a two-way microphone, and an alarm button to call the police. She received her grant of U.S. Patent No. 3,482,037 for her creation on December 2, 1969. Her invention marked the beginning of modern security technology and remains a vital part of home and business security systems today.
Patricia Bath

Dr. Patricia Bath, born in Harlem, New York, on November 4, 1942, invented the Laserphaco Probe, a device that enhanced the speed and accuracy of cataract removal. She became the first Black woman physician to receive a medical patent in 1988 (U.S. Patent No. 4,744,360). A trailblazer in ophthalmology, she was the first Black woman to complete an ophthalmology residency at New York University and the first woman to lead an ophthalmology residency program in the United States at Drew UCLA. She had a commitment to increase access to eye care, co-founding the American Institute for the Prevention of Blindness in 1976. A laser surgery and vision care expert, she was recognized for her contributions and was inducted into the National Inventors Hall of Fame in 2022. She died on May 30, 2019.
Valerie Thomas

Dr. Valerie LaVerne Thomas was born on February 1, 1943, is a well-known scientist and inventor best known as the inventor of the Illusion Transmitter, which produces three-dimensional images without the need of special glasses. She received U.S. Patent No. 4,229,761 for this revolutionary device in 1980. Aside from her work on the Illusion Transmitter, Thomas contributed to satellite data processing during her tenure at NASA and was involved in the Landsat program, as well as working to advance space science research. Her innovations have impacted many fields such as imaging, space exploration, and data technology.
Marian Croak

Marian Croak, born May 14, 1955, is an engineer noted for her contribution to the development of Voice over Internet Protocol (VoIP) technology that digital signals for internet transmission convert voice data into. In 2009, she was granted U.S. Patent No. 7,599,359 for her contributions in this area regarding audio and video conferencing. Croak started at Bell Labs in 1982, where she worked on network engineering and digital telecommunications. She also created a text-to-donate system that raised millions of dollars during disasters. In 2014, Croak joined Google to lead the company’s Research Center for Responsible AI and Human-Centered Technology. Croak, who has more than 200 patents, works to advance racial justice and encourages young women and girls to engage in engineering.
Mary Beatrice Kenner

A native of North Carolina, Mary Beatrice Davidson Kenner, a self-taught inventor, contributed much to women’s health and daily life. An earlier contribution she made was the sanitary belt, the forerunner of the modern menstrual pads, which she patented in 1957 (U.S. Patent No 2,573,535). Her invention was not easily accepted because she was Black. Later, it was used widely. During her lifetime, Kenner had five of her creations patented, including a back washer that was to be used in the shower and a special attachment for walkers and wheelchairs to help her sister, who had multiple sclerosis.
Dr. Donna Auguste

(Photo: National museum of American History/Public Domain)
Texas native Dr. Donna M. Auguste is a software engineer and entrepreneur who was a key contributor to the tech industry, especially with Apple’s Newton PDA. In 1993, she received her first patent (U.S. Patent No.5,434,929) for the pen-based input technology she helped develop for Newton, a precursor to the modern smartphone. Auguste has worked in AI and mobile technology and her efforts have informed the creation of subsequent computing devices. Auguste is the founder and CEO of Freshwater Software, which assists companies with their online operations.
RELATED CONTENT: Women’s History Month 2025